- 搪玻璃設備
- 王經理:05332860177
- 不銹鋼有色金屬設備
- 傅經理:13906430854
- 襯四氟設備及配件
- 傅經理:15253328001
- 技術咨詢服務
- 王經理:18653342297
1500L開式搪玻璃反應釜參數規格(內附圖紙)
來源:搪瓷反應釜廠家??日期:2022-05-05
1500L開式搪玻璃反應釜參數規格,由于企業生產工藝不同,對反應釜的規格要求也是不同的,今天我們就具體介紹一下1500L開式反應釜的參數規格,希望能幫助到大家。
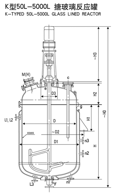
K1500L搪玻璃反應釜(反應罐)技術參數值:公稱容積1500L,實際容積1714L,換熱面積5.2㎡,釜體設計壓力(0.25MPa、0.4MPa、0.6MPa),反應釜夾層設計壓力(0.6MPa),反應釜參考重量1790㎏,整體高度1470mm。一般采用4.0KW減速機,錨(框)式轉速63.85r/min(葉輪80.125r/min),配有帶視鏡人孔蓋PN0.6 400X300-II。工作溫度0~200℃,設計壓力:填料密封<0.1MPa,機械密封0.4MPa,夾套內0.6MPa。使用介質:能耐各種濃度的無機酸、有機酸、有機溶劑及弱堿的腐蝕(氫氟酸、含氟離子的介質、濃度≥30%,溫度≥180℃濃磷酸和強堿除外)
K1500L搪玻璃反應釜主要參數表
|
公稱容積 VN(L) |
實際容積 VN(L) |
傳熱面積 ㎡ |
電動機功率 kw |
攪拌轉速r/min | 罐卡規格/數量 | 主要尺寸(mm) | h |
參考重量 (kg) |
||||||||||||
| 錨(框)式 | 葉輪(漿)式 | 0.25Mpa | 0.4Mpa | 0.6Mpa | D | D1 | D2 | D3 | H | H1 | H2 | H3 | H0 | 錨(框)式 | 葉輪(漿)式 | |||||
| K1500 | 1714 | 5.2 | 4.0 | 63.85 | 80.125 | BM16/59 | BM16/64 | BM20/52 | 1300 | 1450 | 1655 | 400 | 1470 | 650 | 505 | 1276 | 3326 | 100 | 210 | 1790 |
K1500L搪玻璃反應釜管口尺寸表
|
公稱容積 VN(L) |
管口公稱直徑 DN | |||||||||||||||||
|
人孔 M |
手孔 H |
攪拌口 e |
溫度計套管口 |
視鏡口 S1 |
燈孔 S2 |
備用口 a |
備用口 b |
備用口 c |
備用口 d |
放料口 f |
液體進口 n1-2 |
液體進口 n3 |
液體出口 n4 |
蒸汽進口 L1-2 |
凝水出口 L3 |
放氣口 g |
||
| (T1) | (T2) | |||||||||||||||||
| K1500 | 300X400 | - | 125 | 100 | - | 125 | 125 | 100 | 125 | 100 | 125 | 100 | 50 | - | - | 40 | 40 | G3/4" |
K1500L搪玻璃反應釜參考圖紙

備注:以上圖紙為淄博市福民化工設備有限公司設計,請勿轉載,若需要看大圖,可以用鼠標托動圖片在新的窗口打開查看或聯系工作人員給您發送圖紙。
以上是關于1500L開式搪玻璃反應釜參數規格介紹,由于搪玻璃反應釜管口、配件比較多,我們就不一一介紹了,大家可以通過圖紙來參考。大家若是還有不清楚的地方,也可以咨詢我們的工作人員,我們會竭誠為您服務。
淄博福民24小時客戶服務熱線:如果您對1500L開式搪玻璃反應釜感興趣或有疑問,請致電:13906430854/0533-2860177,淄博福民化工設備--您貼心的采購廠家。
上一篇:搪瓷反應釜漏氣原因及處理方法










